| 品名コード |
品名 |
員数 |
価格 |
税込価格 |
部品番号 |
適用品番 |
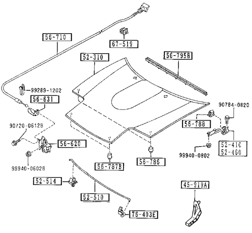
| 45-919A |
パイプ ホルダー |
1 |
230 |
242 |
H115-45-916A |
|
| 52-310 |
ボンネット |
1 |
36,000 |
37,800 |
NAY1-52-310A |
NA6CE-147473 |
| 1 |
36,000 |
37,800 |
NAY1-52-310B |
NA6CE 147473- |
| 52-410 |
ボンネット ヒンジ(R) |
1 |
2,430 |
2,552 |
NA01-52-410A |
|
| 52-460 |
ボンネット ヒンジ(L) |
1 |
2,430 |
2,552 |
NA01-52-420A |
|
| 52-510 |
ボンネット ステー |
1 |
1,520 |
1,596 |
NA01-56-650 |
|
| 52-514 |
ロッド ホルダー |
1 |
130 |
137 |
G030-56-693 |
|
| 56-620 |
ボンネット ロック |
1 |
2,860 |
3,003 |
N001-56-620A |
|
| 56-631 |
ボンネット レリーズ ファスナー |
1 |
340 |
357 |
BS78-56-631 |
NA6CE 101199- |
| 56-710 |
リリースーボンネット ワイヤー |
1 |
1,410 |
1,481 |
NA01-56-720B |
NA6CE-106314 |
| 1 |
1,410 |
1,481 |
NA01-56-720C |
NA6CE 106314-124814 |
| 1 |
|
|
NA01-56-720D 00 |
内色 NA0 NA1 ブラックNA6CE 124814- |
| 56-786 |
ボンネット クッション ラバー(C) |
2 |
250 |
263 |
NA01-56-787 |
|
| 56-787B |
ボンネット F. クッション ラバー |
2 |
310 |
326 |
FB01-56-787A |
|
| 56-788 |
ボンネット RR クッション ラバー |
2 |
220 |
231 |
NA01-56-78X |
|
| 56-795B |
ボンネット ウェザーストリップ |
1 |
1,470 |
1,544 |
NA01-56-760 |
|
| 67-519 |
パイプ クリップ |
1 |
90 |
95 |
G030-67-519 |
|
| 76-403E |
ロッド ホルダー |
1 |
130 |
137 |
B092-52-518 |
|
| 90-730 |
スクリュー & ワッシャー |
|
70 |
74 |
90720-0612B |
|
| 90-781 |
ボルト & ワッシャー |
|
100 |
105 |
90784-0820 |
|
| 90-906 |
フランジ ナット |
|
70 |
74 |
99940-0602B |
|
| |
100 |
105 |
99940-0802 |
|
| 99-274 |
クリップ |
|
110 |
116 |
99289-1202 |
|
|