Powered by 堂堕自動車

 

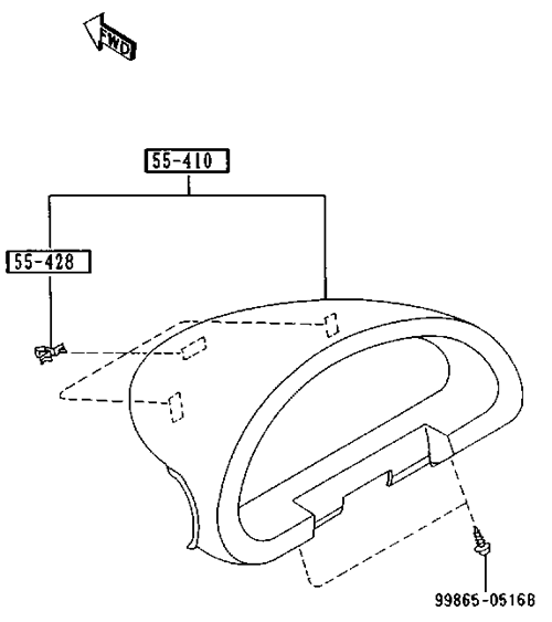
NA6CEメーターフード

純正パーツです。工賃は含んでおりません

 

品名コード 品名 員数 価格 税込価格 部品番号 適用記述
55-410 メーター フード 1 5,950 6,248 N001-55-420A 00 内色ブラックBASE,インストルメントパネル-ブラックNA6CE-103205
1 5,950 6,248 N001-55-420B 00 内色 NA0 NA1ブラックBASE,インストルメントパネル-ブラックNA6CE 103205-
1 7,720 8,106 N002-55-420 00 内色 NA1ブラックV-SPE,インストルメントパネル-タンNA6CE 124814-
55-428 メーター フード スプリング 3 130 137 GJ21-55-428  
99-175 タッピング スクリュー   70 74 99865-0516B  

 

現在、諸般の理由により純正部品の通販を中止しております